Vista la grande varietà di stampi presenti, spesso molte aziende sono impreparate a compiere il grande “salto” verso la standardizzazione. Laddove non sia possibile equipaggiare piastre di interfaccia di uguale altezza, diventa impossibile definire una quota “F” costante.
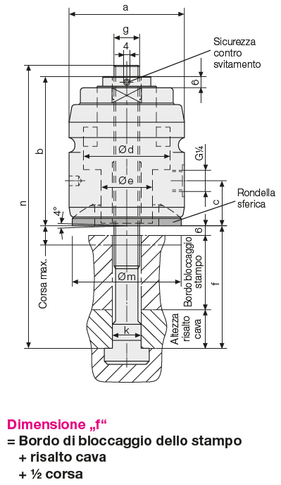
Per quota “F” si intende quanto sotto, ovvero lo spessore dello stampo, più l’altezza del risalto della cava a T, più metà della corsa del cilindro, come indicato nella relazione sottostante:

Si ipotizza metà corsa del cilindro per garantire un minimo di tolleranza sulla quota di bloccaggio, laddove vi fossero minime differenze tra gli spessori considerati.
Essendo però le corse nell’ambito dei 12 mm, questo ci permette di avere un margine nell’ordine dei +/-6 mm, nei fatti non sempre sufficienti.
Hilma risponde all’esigenza di maggior flessibilità con l’introduzione dei nuovi cilindri a pistone cavo con quota F adattabile, che consentono di regolare la corsa in un range di 30 mm. Grazie a questo ampio campo di regolazione è possibile venire incontro a numerosi produttori che hanno maturato, nel corso di anni o decenni, un vasto magazzino di stampi molto diversi tra loro. E’ sempre bene svolgere un’attività di censimento di tutti gli stampi presenti, identificando quelli effettivamente in uso, quelli scarsamente impiegati, quelli che possono essere normalizzati con modifiche relativamente semplici.
Il nuovo cilindro è stato presentato alla EuroBlech 2024 di Hannover, dove ha riscosso un notevole interesse da parte di Clienti di tutto il mondo.
Il nuovo cilindro a pistone cavo con quota F regolabile può essere la chiave per l’adozione dell’automazione nell’ambito del cambio rapido degli stampi, contribuendo ad aumentare la sicurezza dei luoghi di lavoro. Con un mondo in costante accelerazione, garantire postazioni produttive e al tempo stesso estremamente sicure diventa d’obbligo, al fine di evitare interruzioni di produzione e assicurare la tutela degli operatori. Al tempo stesso un prodotto flessibile consente di aprire scenari d’uso prima impossibili, con evidente beneficio per la disponibilità dell’azienda a modulare la propria produzione su più ambiti.
Per maggiori informazioni su questo nuovo prodotto, in attesa dell’uscita formale del catalogo, non esitate a contattarci!



